TEACHERS
GALLERY
PRICING
SIGN IN
TRY ZURU
GET STARTED
Loop
Audio
Interval:
5s
10s
15s
20s
60s
Play
1 of 23
Slide Notes
Download
Go Live
New! Free Haiku Deck for PowerPoint Add-In
LR45 Fuel System
Share
Copy
Download
0
131
Published on Nov 18, 2015
No Description
View Outline
MORE DECKS TO EXPLORE
PRESENTATION OUTLINE
1.
LR 45
FUEL SYSTEM
2.
INTRODUCTION
Brief Description of fuel system
Limitations
Reference manuals (Afm, cfm, pilot manual, qrh, mel)
STandard operating practices-sop
Fuel savings techniques
3.
PRE FLIGHT
Fueling practices-fom/cfm
Approved fuels
Converting gallons-liters
4.
Untitled Slide
5.
Untitled Slide
6.
Untitled Slide
7.
FUELING
Limitations
Sppr
Gravity refueling
8.
LIMITATIONS
Lr45-6062 lr40-5375
Sppr 20-55 psig defueling -10 psig
Approved fuels: jp-5/jp-8/jet a/ jet a-1 (refer to addendum i)
Apu operations during gravity refueling prohibited
9.
Untitled Slide
10.
Untitled Slide
11.
SPPR-SINGLE POINT PRESSURE REFUELING
Sppr adapter-right side of a/c
Fueling panel-hot bus
Pre check valve
Allows entire system to be filled
12.
GRAVITY REFUELING
Located above right engine pylon
Drain vent/expansion lines before beginning
45 minutes fill a/c
13.
WING TANKS
2 independent-1678# per side
Fuel cells-wing root to just short of winglet
Flapper valves allow fuel flow from outboard to inboard
4 scavenge pumps feed main jet pump
Wings filled from fuselage tank
14.
FUSELAGE TANK
Single bladder located in aft fuselage
Capacity: 45-2708 40-2021
Allows system to be serviced thru sppr or gravity refueling
Vent/expansion lines prevent over pressurization
Naca vent pressurizes entire system in flight
15.
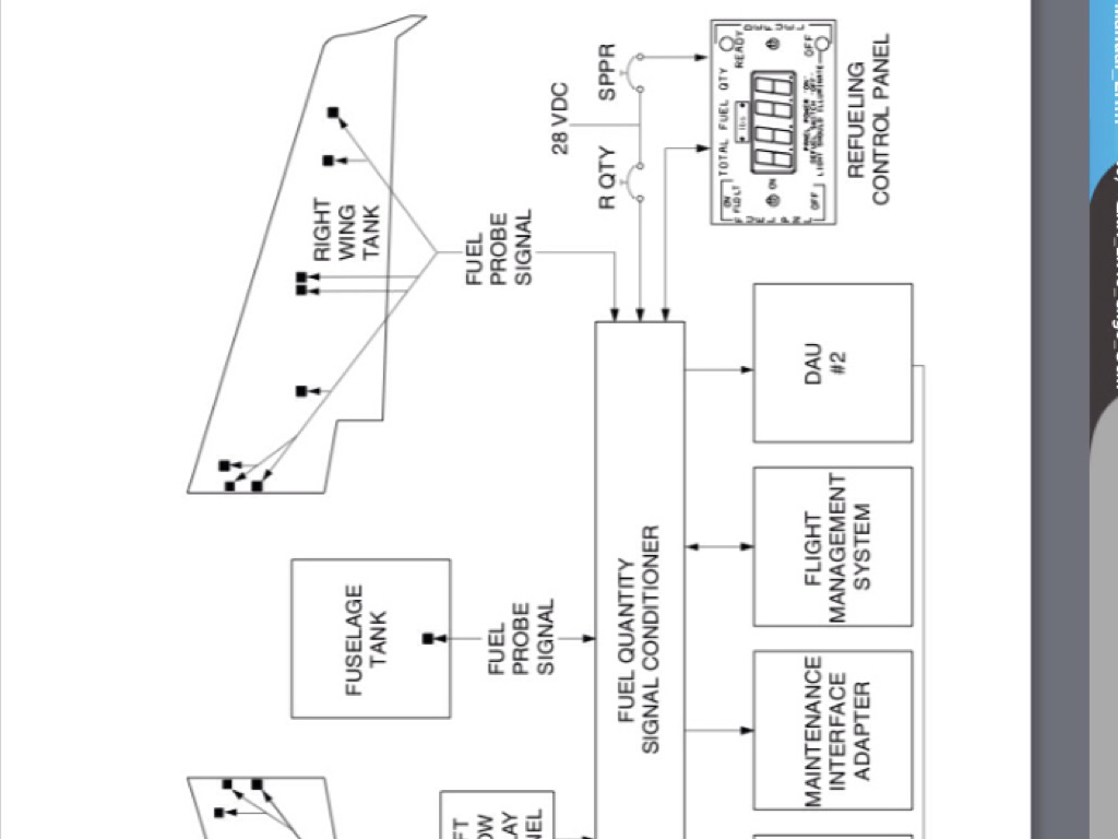
FUEL FLOW INDICATING SYSTEM
Fuel quantity signal conditioner-8 probes per wing/1 fuselage
Feeds dual fuel flow conditioner (dffc)
Feeds dau (#1-left wing #2-right wing & fuselage)
Feeds fms & eicas
Qrh/mel-r fuel qty fault/ fuel qty fault
16.
Untitled Slide
17.
Untitled Slide
18.
Untitled Slide
19.
Untitled Slide
20.
STANDBY PUMPS
1 per wing
Energized automatically on start-up
Uses: start/x-flow/ de-fuel/back-up for main jet pump
Apu-right pump and wing tank
21.
Untitled Slide
22.
SOP-STANDARD OPERATING PRACTICES
Fom
Climb speed
Cruise speed
23.
FUEL SAVING TECHNIQUES
Limit apu useage
Climb!
Cruise efficiently
Descent & landing
Single engine taxi
Scott Greenwood
×
Error!